2025厦门马拉松赛报名须知
- 来源
- 火箭加速体育
- 作者
- 马拉松报名网
- 浏览量
- 2792
- 发布日期
- 2024/09/25
Registration Notices
2025建发厦门马拉松赛
报名须知
一、
赛事基本信息
(一) 比赛日期:2025年1月5日(星期日)
(二) 比赛项目:马拉松(42.195公里)
(三) 参赛规模:35000人
(四)比赛路线:
起、终点设在厦门国际会展中心。
厦门国际会展中心(起点)→会展路→会展南路→环岛东路→环岛南路→演武大桥→鹭江道→湖滨南路(折返)→鹭江道→演武大桥→环岛南路→环岛东路(折返)→会展南路→会展路→厦门国际会展中心(终点)
二、
报名资格
(一) 年龄要求
比赛当年年满20周岁(2005年12月31日(含)前出生)。
(二) 身体状况要求
马拉松运动是一项长距离、大负荷、高强度的竞技运动,也是一项高风险的竞技项目,对身体状况有较高的要求。参赛选手应身体健康,具有长期参加长跑锻炼的基础,并已确认参赛声明中的有关条款。组委会要求参赛选手在赛前一个月内进行必要的身体检查,以确定能否适合参加高强度的运动比赛,体检项目主要包括但不限于:血压、心率、心脑血管、心肺肝肾功能等。
有以下身体状况者禁止参加比赛。
1. 先天性心脏病和风湿性心脏病;
2. 高血压和脑血管疾病;
3. 心肌炎和其它心脏病;
4. 冠状动脉病和严重心律不齐;
5. 血糖过高或过低的糖尿病;
6. 比赛日前2周患感冒者;
7. 赛前一晚大量饮用烈性酒或睡眠不足者;
8. 患有感染性疾病未痊愈者;
9. 妊娠期孕妇;
10. 其它不适合运动的疾病。
三、
报名信息
(一) 报名时间
2024年9月25日10:00至2024年10月15日18:00。
(二) 报名费
1. 中国籍(含港、澳、台地区):每人200元人民币。
2. 外籍:每人50美元。
3. 公益跑:每人2000元人民币。
4. 2024年度国家体育总局反兴奋剂中心注册检查库及检查库中的国内精英运动员和组委会邀请的优秀选手免收报名费。
5. 支付方式:微信支付、支付宝、建设银行数字人民币。
(三) 报名渠道
1. 官方报名:关注官方微信公众号“厦门马拉松赛”(微信号:xiamenmls),点击公众号底部 “报名参赛”菜单,可选择以下两种报名方式:
1) 官方网站(https://www.xmim.org)
2) 官方微信小程序“文广赛事”
2. 第三方报名:通过“数字心动app”报名。
(四) 大众选手报名办法
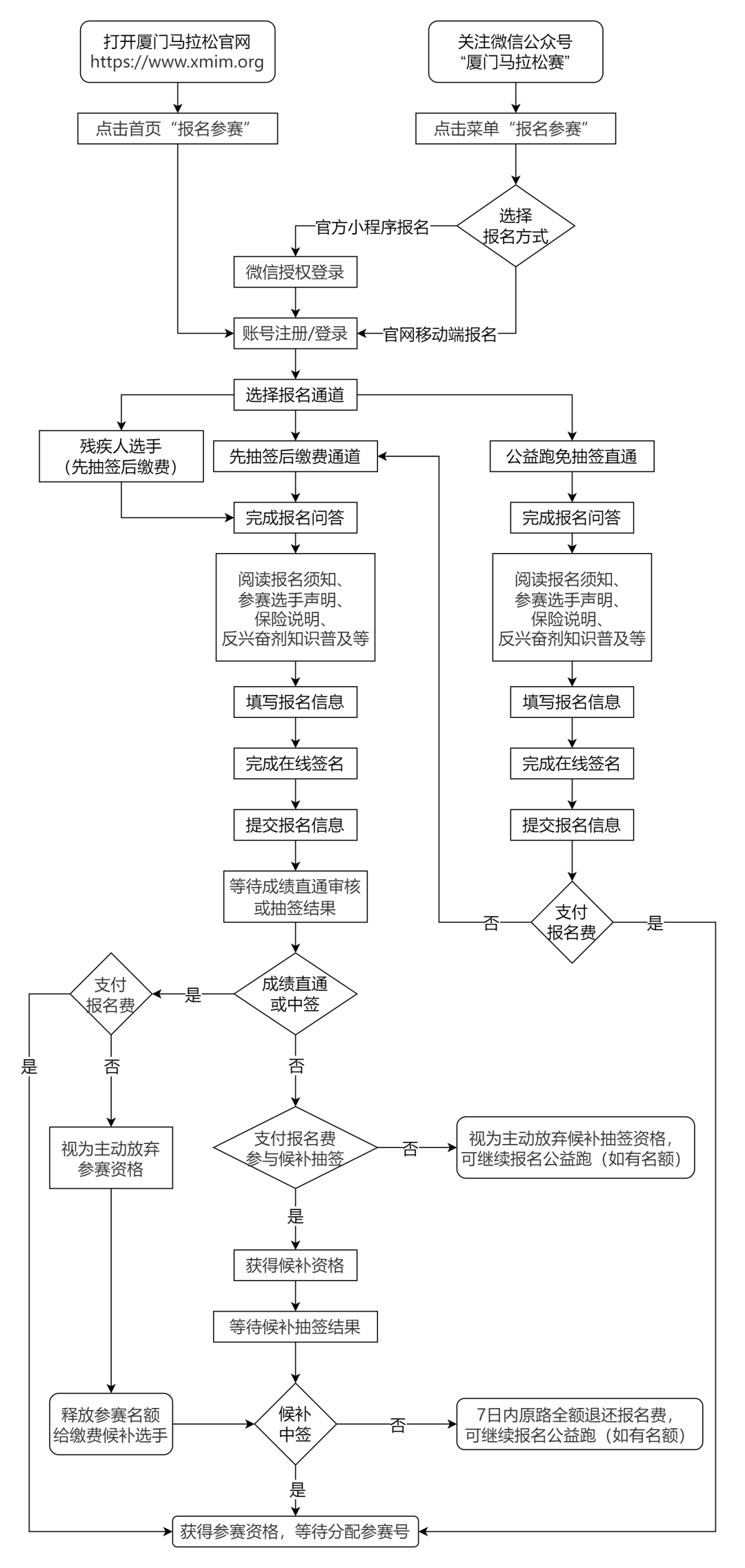
1. 参赛规模35000人,报名人数超过限定名额后,将以抽签方式确定参赛资格;报名采用预报名方式,分为预报名、抽签、中签缴费及候补缴费、候补中签四个阶段。选手必须经过预报名,方可参加抽签。
2. 组委会将于2024年10月21日14:00,通过赛事官方网站及官方微信公众号发布抽签结果,报名选手需通过赛事官网和小程序的个人中心自行查询。另外,组委会还将发送短信作为辅助通知,如未及时缴费,组委会不承担任何责任。
3. 中签选手在2024年10月21日14:00一26日18:00内完成缴费,方视为获得参赛资格;逾期缴费则视为主动放弃参赛资格,其资格将随机分配给缴费候补选手,直至满额。
4. 未中签选手需在2024年10月21日14:00一26日18:00内完成缴费才可获得候补抽签资格,逾期视为主动放弃候补抽签资格。
5. 组委会将于2024年10月27日10:00,通过赛事官方网站及官方微信公众号发布候补抽签结果,报名选手需通过赛事官网和小程序的个人中心自行查询。候补未中签选手,组委会将在公布候补抽签结果后7日内原路退还报名费,选手请自行通过原支付渠道查询退款情况。
6. 不接受团体报名。
7. 残疾人选手报名办法
本次比赛残疾人选手报名参赛的办法,参照中国田径协会官方网站《关于残疾人选手参加全国马拉松及相关运动赛事的通知》的相关规定执行:
1) 本届赛事不设置竞速轮椅项目,为保障残疾人选手参赛权益和其他选手安全,只允许普通轮椅选手以大众选手身份参加比赛。
2) 残疾人(包括轮椅选手)选手报名时须达到选手年龄和健康要求,根据报名要求交纳报名费。
3) 为提供更好的服务,残疾人选手需通过残疾人专属报名通道进行报名,需提交残疾人相关证明;另外,视力障碍选手需在报名时提交一名陪跑员的姓名和身份证号码,如有中签则与陪跑员一同中签,如未中签则不影响陪跑员的抽签结果。
4) 起跑前,视力障碍、听力障碍、智力残疾以及上肢残疾的选手与普通选手一起在相应的分区集结、检录。
5) 在比赛中,为保障所有选手安全,视力障碍选手须有陪跑员全程伴跑,其他残疾选手及轮椅选手也建议邀请陪跑员一同参赛。陪跑员须从本赛事报名中签的正式选手中选择。
8. 报名流程
(五) 精英运动员报名办法
1. 赛事将按照中国田径协会和世界田联标牌赛事规则及渠道邀请精英运动员参加比赛。
2. 精英运动员分为国际精英运动员和国内精英运动员。国际精英运动员为符合赛事等级标准及参赛资格的外籍运动员,国内精英运动员为2024年度国家体育总局反兴奋剂中心注册检查库及检查库中的运动员。
3. 按照《中国田径协会路跑赛事管理办法》,精英运动员及其经纪人必须通过组委会邮箱bmc@xmim.org 与组委会联系报名参赛。
(六) 直通对象
1. 特邀运动员。
2. 获得厦门马拉松赛直通报名权益的永久号参赛选手,永久号管理办法详见官网首页“报名信息”——“永久号管理办法”。
3. 达到成绩直通要求的选手。
a.本届赛事成绩直通名额设置为10000人。
b.选手成绩达到“2025建发厦门马拉松各年龄组入围成绩标准”,即可获得各年龄组直通入围资格。
c.如入围总人数超过10000人,则按各年龄组入围人数占总入围人数百分比乘10000计算各年龄组实际直通人数。(例如:20-29岁入围人数为1300人,各年龄段总入围人数为13000人,则表示20-29岁年龄段的直通名额占比为10%,即该年龄段的直通名额为1000人。)
d.如总入围选手人数超过10000人,则按照各入围选手成绩在各年龄组中进行排名,排名在各年龄组限定直通名额以内的选手,获得直通资格;如总入围选手人数未超过10000人,则所有入围选手均获得直通资格。
特别说明:
1) 入围成绩标准的成绩依据:在“中国马拉松”网站可查询到的经中国田径协会认证为“A1、A2类”赛事(举办日期在2022年1月至2024年9月25日)的马拉松和半程马拉松个人最好完赛净成绩。
2) 无法通过以上方式证明成绩达到入围成绩标准的选手,可在报名后发送世界田联标牌赛事和AIMS认证赛事(举办日期在2022年1月至2024年9月25日)的成绩证书至报名处邮箱:bmc@xmim.org,成绩经核实无误后可作为成绩依据。
3) 组委会将在公布抽签结果时,将公布各年龄组的入围人数及比例,以及根据该比例计算的各年龄组实际直通人数。
4) 同时拥有马拉松和半程马拉松项目成绩的选手,仅根据马拉松项目成绩判定是否达标各年龄组入围成绩标准。
5) 任何线上跑的成绩不作为入围成绩标准依据。
4. 公益跑名额500名,采用先报先得,额满即止的形式进行报名。报名一经确认,不接受退款申请。
5. 参加由厦门文广体育有限公司运营及协办的路跑赛事中,获得直通资格,且各参赛条件符合马拉松竞赛规程规定的选手。
(七) 其他名额
1. 设置1500名常住厦门选手名额(以户籍或报名截止前取得厦门居住证为准,由有关部门提供数据支持,无需选手提交证明),从首轮未中签的常住厦门选手中随机抽取。
2. 设置500名女子选手名额,从首轮未中签的女子选手中随机抽取。
3. 设置500名连续三届厦门马拉松赛未中签选手名额,从2023、2024两届报名厦门马拉松赛但均未获得参赛资格,且本届赛事首轮未中签的选手中随机抽取。
(八) 不予报名选手
1) 因违反田径竞赛规则和相关赛事规程,被中国田径协会处以禁赛处罚的选手。
2) 因违反由组委会及运营单位所承办的各项赛事有关规程,被组委会处以禁赛处罚的选手。
3) 根据《世界反兴奋剂条例》和国家体育总局《反兴奋剂规则》的要求,注册检查库或者检查库中的退役运动员不得参加比赛,如需参赛应当提前6个月向反兴奋剂中心提交书面申请,获得批准申请后,方能参加比赛,如退役运动员违规参赛,将取消其比赛成绩。
(九) 报名咨询
1. 企业微信客服
2. 电话:0592-5372205 / 0592-5372206;(服务时间:工作日9:00-11:30,14:30-17:00)
3. 邮箱:bmc@xmim.org
四、
特别提醒
(一) 获得参赛资格的选手,其名额仅限选手本人参赛,不允许转让。
(二) 经组委会确认获得参赛资格者,如无法参赛,物资包不予发放,报名费不予退还。
(三) 报名信息中的紧急联系人,推荐填写直系亲属;且紧急联系人不能是本次比赛及同一天参加其它赛事的选手;
(四) 报名选手须如实填写个人信息,组委会将对信息的真实性进行核实,若有弄虚作假行为,则取消其2025建发厦门马拉松赛参赛资格。
(五) 组委会不鼓励选手在参赛时携带旗帜、拉横幅、标语或佩戴非官方配速标志的物品。有此需求的选手,仅限在最后分区起跑,否则不允许携带上述物品进场参赛,请选手予以理解和配合。
(六)选手可访问赛事官方网站(www.xmim.org)或关注赛事官方微信公众号“厦门马拉松赛”(微信号:xiamenmls)获取2025建发厦门马拉松赛的各项信息。
五、
参赛物资领取
请在赛前一周查阅赛事官方网站、微信公众号、微信小程序所公布的《参赛物品领取须知》。
六、
其他
未尽事项另行通知。本报名须知以此次发布为准,解释权属于厦门马拉松赛组委会。
